Free Delivery On Orders Over £80
Order before 3:30pm for next working day delivery*
❮
❯
Technical Support
|
Talk To Sales
Need assistance? Call us:
01902 366448
Account Login
Key Blanks
Key Cutting
Accessories
Padlocks
Locks
Hardware
Engraving
Electronic Access
Zone
MPL / UPVC
New Products
All Products
Accessories
Electronic Access
Engraving
Hardware
Key Blanks
Key Cutting
Locks
MPL / UPVC
Padlocks
Zone
Batteries
DispenserJars
Display Stands
ID Card Holder
Key Clips & Chains
Key Labels & Caps
Key Rings
KeyDIY Watches
Lanyards
Licensed Luggage Tags PVC
Lighters
Loop Fobs
Plastic Bags
Retractable Key Reels
Split Rings
Access Control
Garage & Gate Remotes
House Cameras
Smart Lock
Engravable Accessories & Spares
Engravable Gifts
Engravable Plates
Engravable Tags
Engraving Machines
Engraving Starter Packs
LED Signs
Licensed Pet Tag
Bolts, Hasps, Staples
Catalogues and Literature
Chains & Cables
Door Furniture & Accessories
Escutcheons & Cover plates
Lockable Storage
Offers
Safecans
Safes
Window Accessories
Car
Cylinder
Mortice (Lever Bit)
Novelty
Other Vehicle
Packs & Offers
Point Of Sale
Special Purpose
Window
Display Boards
Key Cutting Starter Pack
Key Cutting Tools & Accessories
Key Machine Parts & Consumables
Key Machines
Keyline Keycoins
Bullet Locks
Cable & Bike Locks
CAM & Furniture Locks
Cylinders
Digital Door Locks
Garage Door Locks
Lever Sets & Bolt Throwers
Lock Pinning Kit
Mortice Deadlocks
Mortice Rimlocks
Mortice Sashlocks
Nightlatch Locks
Point Of Sale
Rebate Kits
TS007 3 Star High Security
Window & Patio Locks
Display Units
Door Hardware
Patio Hardware
Window Hardware
Padlock Brass
Padlock Combination
Padlock Disc
Padlock Fire Brigade & Old English
Padlock High Security
Padlock Iron / Laminated / Steel
Padlock Shutter & Anvil
Padlock TSA
Padlock Weatherproof
Safety Padlocks
Boards
Digital Door Locks
Display Units
Euro Profile Cylinders
Key Safes
Night Latches
Padlocks
Pinning Kit
Point of Sale Items
Promotional Packs
Rim Cylinders
Security Chains
New Products
Lorem ipsum fugit temporum legii
View New Products
Sub-item
Offers
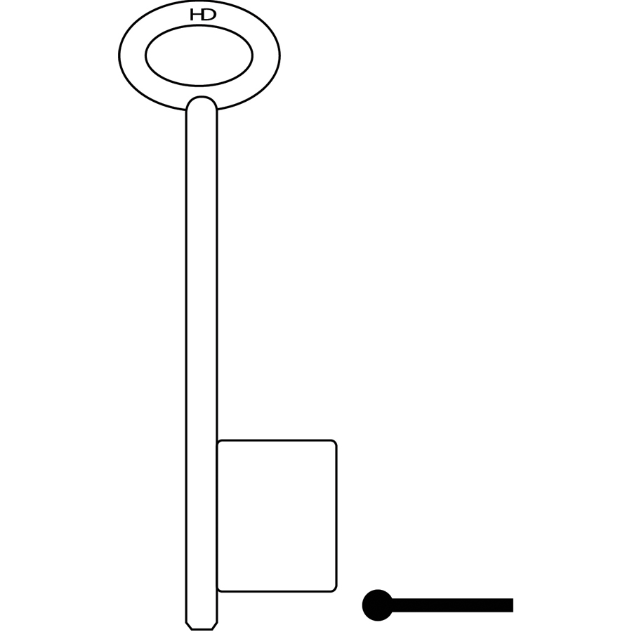
304 X 5.5G 1 BIT PIN SAFE
Home
304 X 5.5G 1 BIT PIN SAFE
Product Code
XL013
304 X 5.5G 1 BIT PIN SAFE
Out Of Stock
Product Details
VARIANT
304X5.5
GAUGE
5.5
FINISH
NICKEL PLATED
GENUINE
NO
ORIGINAL MANUFACTURER
PIN SAFE BLANKS
MATERIAL
STEEL
Pricing
Alternative Products
Related Products
Please
login
to see your price
No alternative products found
Code
Name
KRA304
CAP1 KEYSSENTIALS KEY CAPS ASSORTED COLOURS
View
Order
Please
login
to see your price
Download Catalogue
Updated: 20th March 2023
Please enable JavaScript in your browser to complete this form.
Please enable JavaScript in your browser to complete this form.
Name
*
Email Address
*
Company Name
*
Download
By downloading our brochure, you accept to recieve marketing information tailored to your company. For more information view our privacy policy.
Browse Guides and
Additional Information
View Guides
×